让找料更便捷
电子元器件
采购信息平台
生意随身带
随时随地找货
一站式电子元器件
采购平台
半导体行业观察第一站
标签:
摘要: 在美国专利局(United States patent Office)于今日发布的一项专利申请中,苹果公司描述了一款设计紧凑、舒适的VR头盔。...
在美国专利局(United States patent Office)于今日发布的一项专利申请中,苹果公司描述了一款设计紧凑、舒适的VR头盔。

苹果公司的专利名为“头戴式显示器的光学系统”(OpTIcal System for head - up Display),这一专利被苹果公司称为“头戴式显示器”,这一专利的设计旨在制造一种更为紧凑的虚拟现实头戴设备,尤其是通过重新设计光学系统。
“如果不接受改进的话,头戴式显示器可能会很笨重,而且很累。用于头戴式显示器的光学系统可以使用笨重的透镜布置。使用这种光学系统的头戴式显示器可能会不舒服。因此,我们希望能够提供改进的头戴式显示器。“
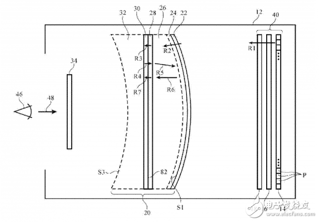
通过专利的详细描述,我们可以清楚地看到,“反折射”光学系统是这种设计的基础,它使用反射和折射的元素,包括不同的偏振元素,在光学路径上操纵光。

反射光学,常用于高倍光学系统,如望远镜和显微镜,“折叠”光路以创造更紧凑的排列布局。光线不是在穿过一个典型的透镜时简单地弯曲,而是在折反射光学器件中,光线沿着其光路来回反复多次,然后最终从另一侧出射。

微型显示器虽然体积小,但像素密度高,但由于尺寸紧凑,便需要具有高倍率的镜头,所以对于VR来说是理想的。高倍放大的镜头通常需要非常厚,或者可以缩小到菲涅耳(Fresnel)设计(如今在消费类VR耳机上常见的那样),但菲涅尔方法引入了自己的一系列挑战。苹果公司似乎正在研究使用反折射光学作为创造一个紧凑的,高放大率的光学镜头,专门与微型显示器结合使用的手段。在专利中提到的微型显示器虽然希望专利在法律上尽可能广泛,但也提到了其他类型的显示器。
该专利进一步描述了一系列的偏振元素,这些元素被用来反射一些光回到显示器上,被偏振器吸收。该文件解释说,这是为了保持对比度,避免被佩戴者看到的(不需要的/不对准的)光线。

尽管该专利主要集中在光学元件的光学设计和布置上,但重要的部分描述了制造该设计的不同方法,据说这可能增加系统的耐久性和清晰度。
在其他细节中,该专利还涉及到这种耳机的可能性,其包括一组用于各种跟踪任务的传感器,并特别指出,可以使用相机来测量环境(如内部跟踪),并感知用户的眼睛位置。后者可能被用于眼睛跟踪应用程序,如foveated渲染。
| 型号 | 厂商 | 价格 |
|---|---|---|
| EPCOS | 爱普科斯 | / |
| STM32F103RCT6 | ST | ¥461.23 |
| STM32F103C8T6 | ST | ¥84 |
| STM32F103VET6 | ST | ¥426.57 |
| STM32F103RET6 | ST | ¥780.82 |
| STM8S003F3P6 | ST | ¥10.62 |
| STM32F103VCT6 | ST | ¥275.84 |
| STM32F103CBT6 | ST | ¥130.66 |
| STM32F030C8T6 | ST | ¥18.11 |
| N76E003AT20 | NUVOTON | ¥9.67 |