让找料更便捷
电子元器件
采购信息平台
生意随身带
随时随地找货
一站式电子元器件
采购平台
半导体行业观察第一站
标签:
摘要:近年来,HTC一直在将其产品重心转移到虚拟现实领域,面对其智能手机业务的不断萎缩,其之前将部分业务以超过10亿美元的价格出售给了谷歌。该公司今年还打算推出一款独立的Daydream耳机,...
摘要: HTC成功地获得了一款智能手机依赖的虚拟现实头盔的专利,该头戴设备搭载磁性保护盒!

据世界知识产权组织(World Intellectual Property OrganizaTIon)数据库中最新公布的一份清单显示,HTC成功地获得了一款智能手机依赖的虚拟现实头盔的专利,该头戴设备被设计成与磁性保护套捆绑在一起。

这家台湾公司最初于2016年7月与美国专利商标局申请专利,去年11月被驳回,因为在描述设备方面过于模糊,没有解释设备的独特性质,即允许将其归类为一项新发明的品质。而在经过一系列的修改,HTC终于在本月早些时候获得了USPTO的批准。

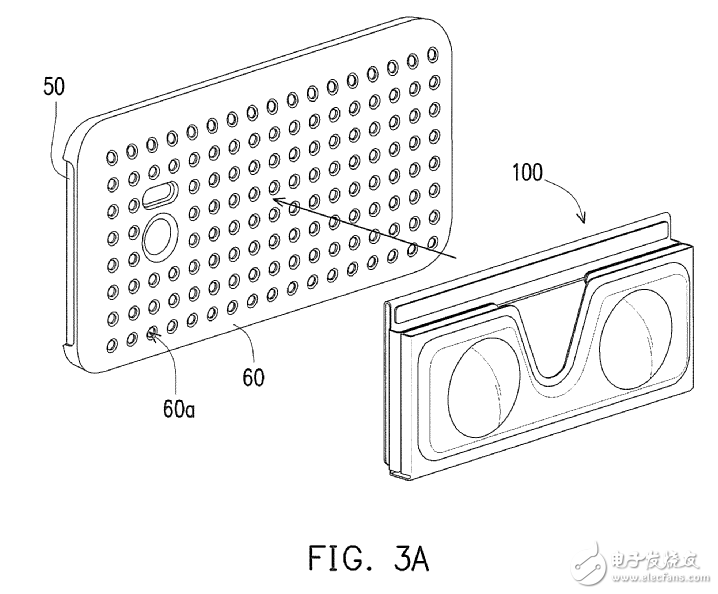
创作被描述为一个“配件和镜头系统”,由两部分组成,一个用于容纳智能手机的保护盒,它具有一个磁性后板和一个可折叠的双镜头设置,可以用磁性方式连接到配件上。一旦从箱子中取出,系统可以展开,看起来是一个依赖于手机屏幕的小型VR模块,预计用户可以将智能手机从底部滑入设备,并用一双手握住该设备同时体验VR内容。

当折叠时,耳机看起来比谷歌纸板更小,结构更简单,而其可折叠的性质应该使它非常紧凑,便于运输。这家总部位于台北的原始设备制造商并没有具体说明它认为哪种材料是构建小工具的理想材料,尽管它设想的机制似乎最适合塑料制造。

近年来,HTC一直在将其产品重心转移到虚拟现实领域,面对其智能手机业务的不断萎缩,其之前将部分业务以超过10亿美元的价格出售给了谷歌。该公司今年还打算推出一款独立的Daydream耳机,但最终取消了这款耳机,但该公司坚持认为仍然致力于整个VR生态系统,并最近宣布了其第二代高端耳机——Vive Pro。
新发现的专利的存在并不能保证它的商业化,特别是因为它最初是在HTC比目前更专注于智能手机的时候创建的。
| 型号 | 厂商 | 价格 |
|---|---|---|
| EPCOS | 爱普科斯 | / |
| STM32F103RCT6 | ST | ¥461.23 |
| STM32F103C8T6 | ST | ¥84 |
| STM32F103VET6 | ST | ¥426.57 |
| STM32F103RET6 | ST | ¥780.82 |
| STM8S003F3P6 | ST | ¥10.62 |
| STM32F103VCT6 | ST | ¥275.84 |
| STM32F103CBT6 | ST | ¥130.66 |
| STM32F030C8T6 | ST | ¥18.11 |
| N76E003AT20 | NUVOTON | ¥9.67 |